人类学学报 ›› 2019, Vol. 38 ›› Issue (01): 119-131.doi: 10.16359/j.cnki.cn11-1963/q.2017.0075cstr: 32091.14.j.cnki.cn11-1963/q.2017.0075
收稿日期:2017-06-18
修回日期:2017-11-08
出版日期:2019-02-15
发布日期:2020-09-11
通讯作者:
吴妍
作者简介:夏秀敏(1988-),女,中国科学院古脊椎动物与古人类研究所博士研究生,主要从事植物考古学研究。 Email: 基金资助:
XIA Xiumin1,2(
), YIN Yupeng3, XU Weihong3, WU Yan1,4(
)
Received:2017-06-18
Revised:2017-11-08
Online:2019-02-15
Published:2020-09-11
Contact:
WU Yan
摘要:
稻作的起源与传播一直是学术界关注的热点,然而水稻何时传入黄河中游并扩散至关中地区,则是需要进一步探讨的问题。华县东阳遗址是关中地区仰韶早中期的过渡性遗存(ca. 5900-5600 cal. BP)。本文借助植硅体分析,并结合炭化植物遗存,探讨了东阳遗址水稻的栽培和利用情况,并尝试分析水稻在关中地区出现的动因及传播过程。研究显示,东阳先民在以种植粟黍为主的同时,已经开始少量的栽培水稻,稻粟兼作的种植模式在此时出现。本研究发现的东阳遗址水稻遗存是目前关中地区最早的水稻遗存,指示了水稻至少在距今5800年时传入关中地区。仰韶晚期至龙山早期关中稻作获得较大发展,至龙山晚期则鲜少发现。该研究刷新了中国北方半干旱-半湿润区最早的水稻遗存记录,为进一步了解稻作起源与传播提供了基础数据。
中图分类号:
夏秀敏, 殷宇鹏, 许卫红, 吴妍. 水稻遗存在陕西华县东阳遗址的发现与探讨[J]. 人类学学报, 2019, 38(01): 119-131.
XIA Xiumin, YIN Yupeng, XU Weihong, WU Yan. The discovery and discussion of rice remains from the Archaeological Site of Dongyang, Huaxian County, Shaanxi Province[J]. Acta Anthropologica Sinica, 2019, 38(01): 119-131.
| 实验室编号 | 单位 | 层位 | 测年样品 | 14C年代 (BP) | 树轮校正后年代(cal. BP) | |
|---|---|---|---|---|---|---|
| 1δ(68.2%) | 2δ(95.4%) | |||||
| Beta-454987 | H49 | ⑦层下 | 动物骨骼 | 5100±30 | 5909(19.9%)5886 | 5917(37.2%)5845 |
| 5821(48.3%)5760 | 5830(58.2%)5749 | |||||
| Beta-454986 | H49 | ②层下 | 炭化水稻 | 5000±30 | 5841(4.2%)5834 | 5888(23.0%)5817 |
| 5747(64.0%)5661 | 5762(72.4%)5651 | |||||
表1 东阳遗址14C年代数据
Tab.1 Dates of the Dongyang site
| 实验室编号 | 单位 | 层位 | 测年样品 | 14C年代 (BP) | 树轮校正后年代(cal. BP) | |
|---|---|---|---|---|---|---|
| 1δ(68.2%) | 2δ(95.4%) | |||||
| Beta-454987 | H49 | ⑦层下 | 动物骨骼 | 5100±30 | 5909(19.9%)5886 | 5917(37.2%)5845 |
| 5821(48.3%)5760 | 5830(58.2%)5749 | |||||
| Beta-454986 | H49 | ②层下 | 炭化水稻 | 5000±30 | 5841(4.2%)5834 | 5888(23.0%)5817 |
| 5747(64.0%)5661 | 5762(72.4%)5651 | |||||
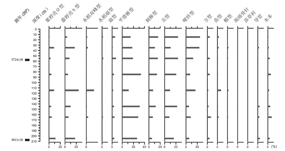
图3 东阳遗址中常见植硅体类型
Fig.3 Photographs of common phytoliths at the Dongyang site (a)ETG1北壁(80-90cm)哑铃型植硅体;(b)ETG1北壁(80-90cm)莎草型植硅体;(c)ETG1北壁(80-90cm)齿型植硅体;(d)ETG1北壁(30-40cm)帽型植硅体;(e)ETG1北壁(10-20cm)并排哑铃型植硅体;(f) ETG1北壁(160-170cm)尖型植硅体;(g) ETG1北壁(80-90cm)方型植硅体;(h) ETG1北壁(80-90cm)芦苇扇型植硅体;(i)ETG1北壁(160-170cm)平滑棒型植硅体;(j) ETG1北壁(50-60cm)刺状棒型植硅体;(k) ETG1北壁(160-170cm)导管;(l) ETG1北壁(160-170cm)木本型植硅体;(m) ETG1北壁(50-60cm)水稻扇型植硅体;(n) ETG1北壁(30-40cm)水稻稃壳双峰型植硅体;(o) ETG1北壁(50-60cm)黍稃壳η型植硅体;(p) ETG1北壁(30-40cm)粟稃壳Ω型植硅体
图5 东阳遗址H49浮选炭化种子主要类型
Fig.5 Charred seeds from pit H49 at the Dongyang site a-藜科 (Chenopodiaceae);b-狗尾草属 (Setaria);c-粟 (Setaria italica);d-黍 (Panicum miliaceum);e-水稻 (Oryza sativa)
| 分布区域 | 遗址名称 | 考古学文化 | 绝对年代 (cal. BP) | 测年对象 | 遗存类型 |
|---|---|---|---|---|---|
| 黄河中游 | 陕西华县东阳遗址 | 仰韶文化 | 5813 | 动物骨骼 | 植硅体和8粒炭化稻米 |
| 5724 | 炭化稻 | ||||
| 黄河中游 | 陕西华县泉护村遗址 | 仰韶文化 | 5570[ | 炭屑土 | 植硅体和10粒炭化稻米[ |
| 黄河中游 | 陕西华阴兴乐坊遗址 | 仰韶文化 | / | / | 炭化稻21粒[ |
| 黄河中游 | 陕西扶风案板遗址 | 仰韶文化 | 5690[ | 灰坑土 | 植硅体 |
| 黄河中游 | 陕西户县八丈寺遗址 | 仰韶文化 | / | / | 稻谷印痕[ |
| 黄河中游 | 河南三门峡南交口遗址 | 仰韶文化 | 5868[ | 炭化稻 | 早期38粒完整稻米[ |
| 5402 | 炭化稻 | 晚期数粒炭化稻米[ | |||
| 黄河中游 | 陕西西安杨官寨遗址 | 仰韶文化 | 5380[ | 文化层沉积 | 植硅体 |
| 黄河中游 | 河南三门峡仰韶村遗址 | 仰韶文化 | / | / | 稻谷印痕[ |
| 黄河中游 | 河南郑州大河村遗址 | 仰韶文化 | / | / | 稻谷印痕[ |
| 黄河中游 | 河南洛阳西高崖遗址 | 仰韶文化 | / | / | 稻谷印痕[ |
| 黄河上游 | 甘肃庆阳遗址 | 仰韶文化 | / | / | 炭化稻米和稻谷数千粒[ |
| 黄河上游 | 甘肃天水西山坪遗址 | 仰韶文化 | 5070 | 炭化稻 | 植硅体和5粒炭化稻米[ |
| 黄河中游 | 河南巩义羽林庄遗址 | 仰韶文化 | / | / | 植硅体[ |
| 黄河中游 | 河南巩义赵城遗址 | 仰韶文化 | / | / | 炭化稻?[ |
| 黄河中游 | 陕西蓝田新街遗址 | 仰韶晚-龙山早 | / | / | 共发现919粒炭化稻米[ |
| 黄河中游 | 陕西武功浒西庄遗址 | 龙山文化 | 4990 | 灰坑土 | 植硅体[ |
| 黄河中游 | 陕西扶风案板遗址 | 龙山文化 | 4920[ | 灰坑土 | 4粒完整和6粒残破稻粒[ |
| 黄河中游 | 陕西扶风周原遗址 | 龙山文化 | / | / | 5粒炭化稻谷[ |
| 黄河中游 | 陕西华县泉护村遗址 | 龙山文化 | 4900[ | 灰坑土 | 植硅体 |
| 黄河中游 | 山西襄汾陶寺遗址 | 龙山文化 | 4415-3885[ | 木炭 | 植硅体[ |
| 黄河中游 | 河南巩义罗口东北遗址 | 龙山文化 | / | / | 植硅体[ |
| 黄河中游 | 河南巩义南石遗址 | 龙山文化 | / | / | 植硅体[ |
| 黄河中游 | 河南博爱西金城遗址 | 龙山文化 | 3990[ | 草木灰 | 82粒稻谷[ |
| 黄河中游 | 河南登封南洼遗址 | 二里头文化 | 3750-3500* | / | 10粒稻谷[ |
| 黄河中游 | 河南洛阳皂角树遗址 | 二里头文化 | 3660* | / | 9粒稻谷[ |
表2 黄河中上游地区发现的史前水稻遗存统计表
Tab.2 Statistical table of prehistoric rice remains found in the upper and middle reaches of the Yellow River
| 分布区域 | 遗址名称 | 考古学文化 | 绝对年代 (cal. BP) | 测年对象 | 遗存类型 |
|---|---|---|---|---|---|
| 黄河中游 | 陕西华县东阳遗址 | 仰韶文化 | 5813 | 动物骨骼 | 植硅体和8粒炭化稻米 |
| 5724 | 炭化稻 | ||||
| 黄河中游 | 陕西华县泉护村遗址 | 仰韶文化 | 5570[ | 炭屑土 | 植硅体和10粒炭化稻米[ |
| 黄河中游 | 陕西华阴兴乐坊遗址 | 仰韶文化 | / | / | 炭化稻21粒[ |
| 黄河中游 | 陕西扶风案板遗址 | 仰韶文化 | 5690[ | 灰坑土 | 植硅体 |
| 黄河中游 | 陕西户县八丈寺遗址 | 仰韶文化 | / | / | 稻谷印痕[ |
| 黄河中游 | 河南三门峡南交口遗址 | 仰韶文化 | 5868[ | 炭化稻 | 早期38粒完整稻米[ |
| 5402 | 炭化稻 | 晚期数粒炭化稻米[ | |||
| 黄河中游 | 陕西西安杨官寨遗址 | 仰韶文化 | 5380[ | 文化层沉积 | 植硅体 |
| 黄河中游 | 河南三门峡仰韶村遗址 | 仰韶文化 | / | / | 稻谷印痕[ |
| 黄河中游 | 河南郑州大河村遗址 | 仰韶文化 | / | / | 稻谷印痕[ |
| 黄河中游 | 河南洛阳西高崖遗址 | 仰韶文化 | / | / | 稻谷印痕[ |
| 黄河上游 | 甘肃庆阳遗址 | 仰韶文化 | / | / | 炭化稻米和稻谷数千粒[ |
| 黄河上游 | 甘肃天水西山坪遗址 | 仰韶文化 | 5070 | 炭化稻 | 植硅体和5粒炭化稻米[ |
| 黄河中游 | 河南巩义羽林庄遗址 | 仰韶文化 | / | / | 植硅体[ |
| 黄河中游 | 河南巩义赵城遗址 | 仰韶文化 | / | / | 炭化稻?[ |
| 黄河中游 | 陕西蓝田新街遗址 | 仰韶晚-龙山早 | / | / | 共发现919粒炭化稻米[ |
| 黄河中游 | 陕西武功浒西庄遗址 | 龙山文化 | 4990 | 灰坑土 | 植硅体[ |
| 黄河中游 | 陕西扶风案板遗址 | 龙山文化 | 4920[ | 灰坑土 | 4粒完整和6粒残破稻粒[ |
| 黄河中游 | 陕西扶风周原遗址 | 龙山文化 | / | / | 5粒炭化稻谷[ |
| 黄河中游 | 陕西华县泉护村遗址 | 龙山文化 | 4900[ | 灰坑土 | 植硅体 |
| 黄河中游 | 山西襄汾陶寺遗址 | 龙山文化 | 4415-3885[ | 木炭 | 植硅体[ |
| 黄河中游 | 河南巩义罗口东北遗址 | 龙山文化 | / | / | 植硅体[ |
| 黄河中游 | 河南巩义南石遗址 | 龙山文化 | / | / | 植硅体[ |
| 黄河中游 | 河南博爱西金城遗址 | 龙山文化 | 3990[ | 草木灰 | 82粒稻谷[ |
| 黄河中游 | 河南登封南洼遗址 | 二里头文化 | 3750-3500* | / | 10粒稻谷[ |
| 黄河中游 | 河南洛阳皂角树遗址 | 二里头文化 | 3660* | / | 9粒稻谷[ |
| [1] | 钟旭华, 黄农荣, Singleton GR, 等. 水稻可持续生产与自然资源优化管理[M]. 北京: 中国农业出版社, 2012 |
| [2] | 严文明. 我国稻作起源研究的新进展[J]. 考古, 1997(9):71-76 |
| [3] | 向安强. 长江中游是中国稻作文化的发祥地[J]. 农业考古, 1998(1):212-222 |
| [4] | 赵志军. 有关农业起源和文明起源的植物考古学研究[J]. 社会科学管理与评论, 2005(2):82-91 |
| [5] |
Jiang LP, Liu L. New evidence for the origins of sedentism and rice domestication in the Lower Yangzi River, China[J]. Antiquity, 2006,80(308):355-361
doi: 10.1017/S0003598X00093674 URL |
| [6] |
Fuller DQ, Qin L, Zheng YF, et al. The domestication process and domestication rate in rice: Spikelet bases from the Lower Yangtze[J]. Science, 2009,323(5921):1607-1610
doi: 10.1126/science.1166605 URL pmid: 19299619 |
| [7] |
Zhao ZJ. The middle Yangtze region in China is one place where rice was domesticated: Phytolith evidence from the Diaotonghuan cave, northern Jiangxi. Antiquity, 1998,72:885-897
doi: 10.1017/S0003598X00087524 URL |
| [8] | 吴诗池. 浅论中国原始稻作农业的起源与发展[J]. 农业考古, 1998(1):87-93 |
| [9] | 黄镇国, 张伟强. 再论中国稻作的起源发展和传播[J]. 热带地理, 2002,22(1):76-79 |
| [10] | 安志敏. 中国稻作文化的起源和东传[J]. 文物, 1999(2):63-70 |
| [11] | 秦岭. 中国农业起源的植物考古研究与展望[J]. 考古学研究, 2012: 260-315 |
| [12] | 任式楠. 中国史前农业的发生与发展[J]. 学术探索, 2005(6):110-123 |
| [13] | 王星光. 气候变化与黄河中下游地区的早期稻作农业[J]. 中国农史, 2011(3):3-12 |
| [14] | 赵越云, 樊志民. 稻旱关系:中华早期文明形成的农史考察——兼论历史早期的 “华夏” 意识[J]. 西北农林科技大学学报(社会科学版), 2016,16(2):139-148 |
| [15] | 靳桂云, 栾丰实. 海岱地区龙山时代稻作农业研究的进展与问题[J]. 农业考古, 2006(1):46-55 |
| [16] | 靳桂云, 燕生东, 宇田津彻郎,等.山东胶州赵家庄遗址4000年前稻田的植硅体证据[J]. 科学通报, 2007,52(18):2161-2168 |
| [17] | 李小强, 周新郢, 张宏宾, 等. 考古生物指标记录的中国西北地区5000 a BP水稻遗存[J]. 科学通报, 2007,52(6):673-678 |
| [18] | Zhang JP, Lu HY, Wu NQ, et al. Phytolith evidence for rice cultivation and spread in Mid-Late Neolithic archaeological sites in central North China[J]. Boreas, 2010(39):592-602 |
| [19] |
Pearsall DM. Phytolith analysis of archeological soils: Evidence for maize cultivation in formative ecuador[J]. Science, 1978,199(4325):177
doi: 10.1126/science.199.4325.177 URL pmid: 17812949 |
| [20] |
Ball TB, Ehlers R, Standing MD, et al. Review of typologic and morphometric analysis of phytoliths produced by wheat and barley[J]. Breeding Science, 2009,59(5):505-512
doi: 10.1270/jsbbs.59.505 URL |
| [21] |
Lu HY, Zhang JP, Liu KB, et al. Earliest domestication of common millet (Panicum miliaceum) in East Asia extended to 10,000 years ago[J]. Proceedings of the National Academy of Sciences of the United States of America, 2009,106(18):7367-7372
doi: 10.1073/pnas.0900158106 URL pmid: 19383791 |
| [22] |
Pearsall DM, Piperno DR, Umlauf M, et al. Distinguishing rice (Oryza sativa Poaceae) from wild Oryza species through phytolith analysis: Results of preliminary research[J]. Economic Botany, 1995,49(2):183-196
doi: 10.1007/BF02862923 URL |
| [23] | 陈报章. 植硅石分析与栽培稻起源研究[J]. 作物学报, 1997(1):114-118 |
| [24] | Lu HY, Wu NQ, Liu B. Recognition of rice phytoliths[A]. Pinilla A, Juan-Tresserras J, Machado MJ. Estado actual de los estudios defitolitos ensuelosy plantas: The state-of-the-art phytoliths in soils and plants [C]. Madrid: Monografias del Centro de Ciencias Medioambientales, 1997: 159-174 |
| [25] | 陕西省考古研究所, 秦始皇兵马俑博物馆. 华县东阳[M]. 北京: 科学出版社, 2006: 1-2 |
| [26] | 种建荣. 陇县原子头仰韶文化遗存分期及相关问题探讨[D]. 西安:西北大学硕士学位论文, 2004: 18-29 |
| [27] |
Wang X, Jiang HE, Shang X, et al. Comparison of dry ashing and wet oxidation methods for recovering articulated husk phytoliths of foxtail millet and common millet from archaeological soil[J]. Journal of Archaeological Science, 2014,45(1):234-239
doi: 10.1016/j.jas.2014.03.001 URL |
| [28] |
Lu HY, Liu ZX, Wu NQ, et al. Rice domestication and climatic change: phytolith evidence from East China[J]. Boreas, 2002,31(4):378-385
doi: 10.1080/030094802320942581 URL |
| [29] | 郑云飞, 蒋乐平. 上山遗址出土的古稻遗存及其意义[J]. 考古, 2007, ( 9):19-25 |
| [30] |
Harvey EL, Fuller DQ. Investigating crop processing using phytolith analysis: the example of rice and millets[J]. Journal of Archaeological Science, 2005,32(5):739-752
doi: 10.1016/j.jas.2004.12.010 URL |
| [31] | 赵小帆. 贵州发现的早期稻作遗存及谷物的收割和加工[J]. 古今农业, 2008, ( 2):45-49 |
| [32] | 吕厚远, 张健平. 关中地区的新石器古文化发展与古环境变化的关系[J]. 第四纪研究, 2008,28(6):1050-1060 |
| [33] |
Yang Q, Li XQ, Zhou XY, et al. Quantitative reconstruction of summer precipitation using a mid-Holocene δ 13C common millet record from Guanzhong Basin, northern China [J]. Climate of the Past, 2016,12(12):2229-2240
doi: 10.5194/cp-12-2229-2016 URL |
| [34] |
Sun N, Li XQ, Dodson J, et al. The quantitative reconstruction of temperature and precipitation in the Guanzhong Basin of the southern Loess Plateau between 6200 BP and 5600 BP[J]. Holocene, 2016,26(8):1200-1207
doi: 10.1177/0959683616638417 URL |
| [35] | 祁国琴. 姜寨新石器时代遗址动物群的分析[A].西安半坡博物馆.姜寨[M]. 北京: 文物出版社, 1988: 504-538 |
| [36] | 陕西省考古研究院. 华县泉护村:1997年考古发掘报告[M]. 北京: 文物出版社, 2014: 595-661 |
| [37] | 倪爱武. 三门峡及邻区公元前5000-2000年环境变化与人类响应研究[D]. 北京:中国地质大学博士论文, 2011: 89-90 |
| [38] | 国家文物局. 中国文物地图集(陕西分册)[M]. 北京: 中国地图出版社, 1998 |
| [39] | 北京大学考古学系. 华县泉护村[M]. 北京: 科学出版社, 2003: 1-135 |
| [40] | 贾鑫, 王琳, 董广辉, 等. 中全新世关中陕北陇东地区文化演变及环境驱动力[J]. 兰州大学学报(自科版), 2008,44(6):8-14 |
| [41] | 裴安平, 熊建华. 长江流域的稻作文化[M]. 湖北: 教育出版社, 2004: 172-173 |
| [42] | 靳桂云. 中国北方史前遗址稻作遗存的植物硅酸体判别标准[J]. 文物保护与考古科学, 2002,14(1):1-9 |
| [43] | 魏京武, 杨亚长. 从考古资料看陕西古代农业的发展[J]. 农业考古, 1986(1):91-100 |
| [44] | 张健平. 黍、粟和青狗尾草植硅体分析及我国典型农作物的起源与传播[D]. 北京:中国科学院研究生院博士论文, 2010: 79-85 |
| [45] | 赵志军. 泉护村遗址出土植物遗存报告[A].陕西省考古研究院.华县泉护村:1997年考古发掘报告[M]. 北京: 文物出版社, 2014: 726-727 |
| [46] | 刘焕, 胡松梅, 张鹏程, 等. 陕西两处仰韶时期遗址浮选结果分析及其对比[J]. 考古与文物, 2013(4):106-112 |
| [47] | 吴梓林. 从考古发现看中国古稻[J]. 人文杂志, 1980, (4):69-72 |
| [48] | 魏兴涛, 孔昭宸. 三门峡南交口遗址仰韶文化稻作遗存的发现及其意义[J]. 农业考古, 2000(3):77-79 |
| [49] | 秦岭. 南交口遗址2007年出土仰韶文化早、中期植物遗存及相关问题探讨[A].河南省文物考古研究所.三门峡南交口[M]. 北京: 科学出版社, 2009: 427-435 |
| [50] | 孔昭宸, 刘长江, 魏兴涛. 南交口遗址1997年出土仰韶文化中期农作物遗存初步研究[A].河南省文物考古研究所.三门峡南交口[M]. 北京: 科学出版社, 2009: 420-426 |
| [51] | 吴小红, 魏兴涛. 南交口遗址14C年代的测定与相关遗存的年代[A].河南省文物考古研究所.三门峡南交口[M]. 北京: 科学出版社, 2009: 436-443 |
| [52] | 黄其煦. 关于仰韶遗址出土的稻谷[J]. 史前研究, 1986(1):88-89 |
| [53] | 严文明. 中国稻作农业的起源[J]. 农业考古, 1982(1):50-54 |
| [54] | 曾意丹, 朱亮. 洛阳西高崖遗址试掘简报[J]. 文物, 1981(7):39-51 |
| [55] | 张文绪, 王辉. 甘肃庆阳遗址古栽培稻的研究[J]. 农业考古, 2000(3):80-85 |
| [56] | 陈星灿, 刘莉, 李润权, 等. 中国文明腹地的社会复杂化进程——伊洛河地区的聚落形态研究[J]. 考古学报, 2003(2):161-218 |
| [57] |
Lee GA, Crawford GW, Liu L, et al. Plants and people from the early Neolithic to Shang periods in North China[J]. Proceedings of the National Academy of Sciences of the United States of America, 2007,104(3):1087
doi: 10.1073/pnas.0609763104 URL pmid: 17213316 |
| [58] | 钟华, 杨亚长, 邵晶, 等. 陕西省蓝田县新街遗址炭化植物遗存研究[J]. 南方文物, 2015(3):36-43 |
| [59] | 谢伟. 案板遗址灰土中所见到的农作物——兼论灰像法的改进[A].西北大学文博学院.扶风案板遗址发掘报告[M]. 北京: 科学出版社, 2000: 286-289 |
| [60] | 刘晓媛. 案板遗址2012年发掘植物遗存研究[D]. 西安:西北大学硕士学位论文, 2014: 15 |
| [61] | 赵志军, 徐良高. 周原遗址(王家嘴地点)尝试性浮选的结果及初步分析[J]. 文物, 2004(10):89-96 |
| [62] | 高天麟, 张岱海, 高炜. 龙山文化陶寺类型的年代与分期[J]. 史前研究, 1984(3):22-30 |
| [63] | 赵志军, 何驽. 陶寺城址2002年度浮选结果及分析[J]. 考古, 2006(5):77-86 |
| [64] | 姚政权, 吴妍, 王昌燧, 等. 山西襄汾陶寺遗址的植硅石分析[J]. 农业考古, 2006(4):19-26 |
| [65] | 陈雪香, 王良智, 王青. 河南博爱县西金城遗址2006~2007年浮选结果分析[J]. 华夏考古, 2010(3):67-76 |
| [66] | 王良智. 西金城遗址环境考古研究[D]. 济南:山东大学硕士学位论文, 2009: 31 |
| [67] | 吴文婉, 张继华, 靳桂云. 河南登封南洼遗址二里头到汉代聚落农业的植物考古证据[J]. 中原文物, 2014, ( 1):109-117 |
| [68] | 洛阳市文物工作队. 洛阳皂角树[M]. 北京: 科学出版社, 2002: 103-113 |
| [1] | 加藤真二. 旧石器时代晚期人类在欧亚东部地区的扩散和文化传播[J]. 人类学学报, 2023, 42(06): 842-856. |
| [2] | 顾纯光, 罗武宏, 张东, 杨玉璋. 安徽禹会村遗址双墩文化时期农业发展的植硅体证据[J]. 人类学学报, 2023, 42(01): 110-121. |
| [3] | 杨石霞, 浣发祥, 王宏, 吴振宇, 卢筱洪, 李京亚. 广东西樵山细石叶石核的开发策略[J]. 人类学学报, 2022, 41(05): 804-815. |
| [4] | 赵东月, 刘昊鹏, 杨磊. 沣西新城曹家寨清代墓地古人口学初步研究[J]. 人类学学报, 2022, 41(01): 11-22. |
| [5] | 周亚威, 高国帅. 性病梅毒的古病理学研究回顾[J]. 人类学学报, 2022, 41(01): 157-168. |
| [6] | 陈淳;张萌. 细石叶工业研究的回顾与再思考[J]. 人类学学报, 2018, 37(04): 577-589. |
| [7] | 屈亚婷;胡珂;杨苗苗;崔建新. 新石器时代关中地区人类生业模式演变的生物考古学证据[J]. 人类学学报, 2018, 37(01): 96-109. |
| 阅读次数 | ||||||
|
全文 |
|
|||||
|
摘要 |
|
|||||
京ICP证05002819号-3